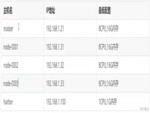
K8S安装 Kube-master安装 按照如下配置准备云主机防火墙相关配置:禁用selinux,禁用swap,且在firewalld-*。上传kubernetes.zip 到跳板机 配置yum仓库(跳...
目录 需求 步骤 问题处理 需求 在 Mac 上安装 VSCode,并连接跳板机和服务器。 步骤 Step1:从VSCode官网(https://code.visualstudio.com/download)下...
🎬 HoRain云小助手:个人主页 🔥 个人专栏: 《Linux 系列教程》《c语言教程》 ⛺️生活的理想,就是为了理想的生活! ⛳️ 推荐 前些天发现...
目录 需求 步骤 问题处理 需求 在 Mac 上安装 VSCode,并连接跳板机和服务器。 步骤 Step1:从VSCode官网(https://code.visualstudio.com/download)下...
🎬 HoRain云小助手:个人主页 🔥 个人专栏: 《Linux 系列教程》《c语言教程》 ⛺️生活的理想,就是为了理想的生活! ⛳️ 推荐 前些天发现...
文章目录 场景需求 一、服务器端配置 1. 启动HTTP文件服务 2. 配置防火墙 3. 验证服务状态 二、SSH隧道建立 1. 直接连接场景 2. 通过跳板机连接 ...
目录 **一、跳板机的作用** **二、搭建服务器跳板(Jump Server)** **1. 服务器架构** **2. 配置跳板机(Jump Server)** **(1)安装 OpenSSH 服务...