1.数据库概述 1.1 概念 数据库(Database)是按照数据结构来组织、存储和管理数据的仓库,可以高效地存储、检索和管理大量数据 主要特点: 1.结构化存储:数...
文章目录 1. 什么是RLP序列化? 2. RLP的设计目标与优势 3. RLP处理的数据类型 4. RLP编码规则详解 字符串的编码规则 列表的编码规则 5. RLP解码原...
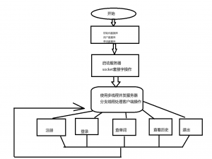
基于TCP的网络电子词典 网络电子词典核心代码块实现 1.1流程设计 1.2主要模块 数据库模块:两个数据库,用户数据库、单词数据库 单词数据库:存储四级单...
目录 1 -> 前言 2 -> 使用约束 3 -> 创建模块 4 -> 构建HAR 4.1 -> 以debug模式构建HAR 4.2 -> 以release模式构建HAR 4.3 -> 构建字节...
文心一言4.5开源模型实战:ERNIE-4.5-0.3B轻量化部署与效能突破 文心一言4.5开源模型实战:ERNIE-4.5-0.3B轻量化部署与效能突破,本文介绍百度文心一言 4...
一、概述 之前实现了RTP封包H264,这里实现手动解包H264,并且将解包后的H264保存为本地文件,保存后的H264文件可以直接播放 通过ffplay直接可以播放 ffpla...
JVM虚拟机全面解析笔记 一、为什么要学JVM? 面试必备:避免死记硬背八股文 技术根基:理解代码底层逻辑,构建可靠系统 调优基础:解决线上内存泄漏、OOM...
在 C 语言中,结构体字节对齐(Structure Padding or Alignment)是一种为了提高访问效率而自动插入的空字节(padding bytes)机制。以下是详细解释: ...
目录 引言 一、跨平台就跟国际语言翻译似的 二、字节码和 JVM 到底是啥玩意儿 三、解决 “语言不通” 这个老难题 四、实现 “一次编写,到处运行” 就这四步 五...
一、什么是 RTSP协议 1.1 RTSP 协议简介 RTSP,全称实时流传输协议(Real Time Streaming Protocol),是一种位于应用层的网络协议。它主要用于在流媒体...